购车秘籍
车旅山河志讯 新型安全气囊的研发一直都在进行中,而丰田最新研发的安全气囊是最精细的设计之一。据外媒报道,美国专利商标局的一项专利申请显示,丰田正在研发一种包围上半身的新型安全气囊设计,不仅可以保护乘员的头部免受伤害,还能在发生交通事故时,保护乘员的脸,支撑脖子和肩膀。
丰田专利图1(图片来源:美国专利商标局)
在专利草图中可以看出,此种新型安全气囊的形状看起来更像是一个头部固定装置(摔跤中术语),而不是一个充气式头部保护装置。不过,此种设计也是有原因的。虽然现有的安全气囊在防止头部与胸部受伤方面做得很好,但是在关键方面——保护脖子上,效用不足。
丰田新专利可以缓解该缺点,因为其设计可以通过防止头部横向移动保证乘员头部处于稳定位置,同时消除颈部的扭转力来保证乘员的上半身与头部在同一水平线上。因此,能够更有效地对抗侧面碰撞,而斜向碰撞对乘员的脊柱上部区域几乎没有影响。
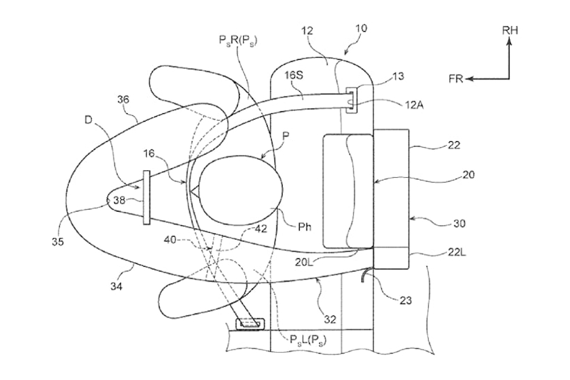
与大多数安全气囊设计不同,该项新专利将安全气囊安置在座椅头部安全装置处。其操作与众不同,可分阶段展开,以确保安全气囊在乘员周围能够成为一定的形状。碰撞预警传感器能够在碰撞发生前的几分之一秒启动安全气囊部署,以实现其功能,从而帮助安全气囊在惯性力极大地改变乘员的方向之前形成适当的形状。
丰田专利图2(图片来源:美国专利商标局)
首先安全气囊会横向展开,第一部分会从头枕延伸至车辆前部,越过乘员的头部,与安全带扣的位置处于同一侧。在第二个展开阶段,安全气囊的活动端会延伸至乘员的另一侧肩膀,还有一个小型帆布系绳防止其延伸得太远。
与此同时,第三个展开阶段,在弯曲点和车顶之间会插入另一个缓冲垫,在上方位置提供进一步的保护。主要的展开区域还包括一个充气垫肩,以在车辆斜向安全带无法固定肩部一侧时,防止乘员上半身转动。
当所有此类安全气囊装置就位,乘员的上半身以及头骨会被牢牢固定,从而可提升安全气囊装置其余部分以及车辆安全单元所提供的保护。当与其他安全气囊创新技术结合,如现代汽车的胯部安全气囊,车辆的安全评分肯定会得到提高,即使意味着保险和维修成本也会上升。
据专利申请显示,新型安全气囊的设计旨在让其与现有的正面、侧面和幕帘安全气囊协同工作,因此其将执行补充安全功能,而不是取代现有的任何安全气囊。
虽然现在新型安全气囊设计的上市时间还未确认,但是其有可能会出现在高端车型上,如未来的雷克萨斯LS车型,之后才会逐步推向更主流的车型。
车旅山河志