科技车风
3月7日消息,据企查查显示,恒大新能源汽车(贵州)有限公司因无正当理由拒不履行执行和解协议,未缴纳水土保持补偿费104万余元以及滞纳金,被修文县人民法院列为失信被执行人,同时被修文县水务管理局申请限制消费。
据悉,去年2月,该公司就因此案被强制执行113万余元。
图片来源:企查查
所谓的水土保持补偿费是指在山区、丘陵区、风沙区以及水土保持规划确定的容易发生水土流失的其他区域开办生产建设项目或者从事其他生产建设活动,损坏了水土保持设施、地貌植被,不能恢复原有水土保持功能,应当向水行政部门缴纳的费用。
2020年11月,修文县水务局批复了《恒大新能源汽车(贵州)有限公司零部件首期建设项目水土保持方案报告书》。
信息显示,该项目前期主要新建汽车展销中心、智慧汽车塔、接待中心、技术展示中心、技术中心、汽车生产车间以及一期成品车间、二期成品车间、发运中心等,新建总建筑面积406801.43平方米(均为地上建筑)。项目后期,还需要绿化覆土62040m3,主要利用该项目二期范围内剥离的表土,不额外设置取土场。
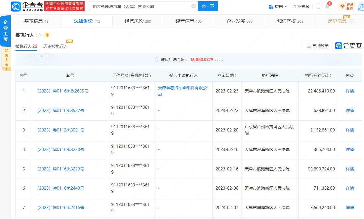
自恒大集团宣布造车后,其造车事业务波折不断。截至目前,恒大汽车旗下的各地子公司已存在多项被执行人信息。
其中,恒大新能源汽车(天津)有限公司,被执行人信息22条,被执行总金额超1.68亿元;恒大恒驰新能源汽车(上海)有限公司,被执行人信息9条,被执行总金额超2.82亿元。
图片来源:企查查
据公开资料显示,2020年8月3日,恒大发布恒驰首期六款车,实现产品线全覆盖;首款新能源汽车恒驰5于2022年10月29日开始交付。
官方曾表示新车预售开启后的15天内,订单已经超过3.7万辆,同时将在2023年一季度前完成首批1万辆的交付。但截至2022年年底,恒驰5共交付了324辆车,与预期交付的数量相差甚远。
车旅山河志